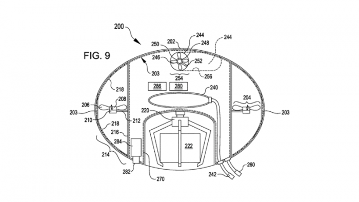
美国专利和商标局近期颁布的亚马逊专利显示,这家电商巨子引见了一种专门为仓库设计的新型无人机体系。同花费者熟习的四轴无人机分歧,亚马逊的专利插图中显示了奇特的泡泡状无人机,而爪子有点相似于娃娃机上的抓取爪子。

最新专利暗示公司能够会应用无人机来进步仓储机能。亚马逊在该专利中具体描写了一种“库存体系的协作式无人机驾驶飞翔器”,亚马逊描写这款无人机时应用了“浮力平安气囊”、“悬停功效”、“驱动单位”和“车载掌握模块”等症结词。

该专利描写中表现该无人机具有向下垂落的爪子,可用于“抓取一个或许多个物件停止运输”可以或许赞助物品在仓库之间停止挪动,从而削减仓库员工的累赘。
